医疗诊所污水处理设备设计要求
一、医疗诊所污水处理设备设计要求:
医疗诊所污水处理设备设计要求是采用厌氧水解+生物接触氧化法为主体。通过厌、好氧菌分解有机物达到降解去除医院综合污水中有机污染物质与有害、有毒物质,达到《医疗机构水污染物排放标准》排放标准,出水再经过深度处理彻底消毒处理,达到消灭病菌、细菌、保障人体健康,消除有机污染物污染隐患的目的。

二、医疗诊所污水处理设备设计依据:
1、院方提供的相关数据和资料
2、《医院污水处理技术指南》
3、《医院污水处理设计规范》(CECS 07–2004)
4、《医疗机构水污染物排放标准》(GB 18466-2005)
5、《医院杂用水水质标准》(CJ25.1-89)

三、医疗诊所污水处理设备工艺说明:
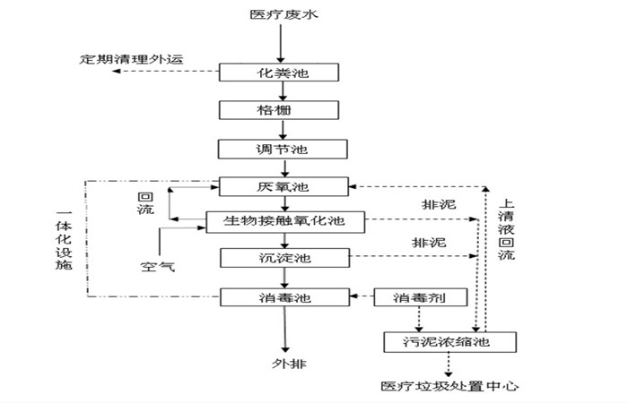
医疗废水首先进入格栅井,格栅的作用主要是拦截污水中的漂浮物及颗粒物,减轻后续设备的处理负荷和保护水泵正常工作。从格栅出来的水有提升泵提升到调节池,调节池的作用是调节水质和水量,使不同时间、不同水质的水充分混合,保证进入到后续设备的水质与水量均匀一致,还可以降低一定的负荷,使整套处理设备耐受短时间较高的负荷冲击。为防止SS在调节池沉淀,在调节池中安装几根曝气软管,起搅拌作用,同时调节池具有水解、酸化池的功能,可将部分大分子有机污染物降解为小分子污染物,去除部分有机污染物。
调节池出来的水自流至一体化医疗废水处理设备的水解酸化池,将不易分解的大分子有机物厌氧消化为易分解的小分子有机物,后废水进入接触氧化池,在曝气池中设置填料,将其作为生物膜的载体。待处理的废水经充氧后以一定流速流经填料,与生物膜接触,生物膜与悬浮的活性污泥共同作用,达到净化废水的作用。生物处理后的废水自流入沉淀池,沉淀后上清液自流入消毒池,经过二氧化氯消毒后达标排放。


四、医疗诊所污水处理设备特点:
1、抗冲击负荷的能力强。接触氧化法的平均停留时间在6小时以上;
2、具有脱氮除磷能力,并可以通过调节设备的构造,达到处理工业废水,生活污水,城市污水的能力;
3、接触氧化池内的填料多为组合软填料,质轻、高强、物理化学性质稳定,比表面积大,生物膜附着能力强,污水与生物膜的接触效率高;
4、接触氧化池内采用曝气器进行鼓风曝气,使纤维束不断漂动,曝气均匀,微生物生长成熟,具有活性污泥法的特征;
5、出水水质稳定,污泥产量少并易于处理;
6、潜水泵中可设于设备之中,减少工程投资;
7、设备可设于地面上,也可埋于地下。埋于地下时,上部覆上可用于绿化,厂区占地面积少,地面构筑物少;
8、易于完成自动控制,管理、操作简单。


五、医疗诊所污水处理设备售后服务:
①、所供设备保修一年,并对其进行终身维修。
②、提供24小时保障服务,公司设有维修服务部,接到用户通知,将于24小时内予以响应并立即派员赶到现场处理,免费维修直至故障完全排除。
③、提供保证货物在质保期内正常运行所需的随机备品备件、易损件。
④、定期回访用户了解设备运行情况,确保设备正常运转。
⑤、我公司有专业的经验丰富的售后服务队伍,为用户提供安装和设备调试,以保证设备的正常工作。


返回首页
电话
产品中心