医疗废水水处理设备免费设计
一、医疗废水水处理设备免费设计:
(1) 污水处理工艺的选择是污水处理工程建设的关键,处理工艺是否合理直接关系到污水处理站的处理效果、排水水质、运行稳定性、投资、运转成本和管理操作水平等。因此,必须结合实际情况,综合考虑各方面因素,慎重选择适宜的处理工艺,以达到理想处理效果和经济效益。
(2) 认真贯彻执行国家关于环境保护的方针政策,遵守国家有关法规,规范,标准。
(3) 根据废水水质和处理要求,合理选择工艺路线,要求处理技术合理,处理出水水质达标排放。运行稳定,可靠。在满足处理要求的前提下,尽量减少占地和投资。
(4) 操作管理方便、技术要求简单,实现自动化控制,管理、维护简单方便,宜于长期使用。
(5) 设备选型要综合考虑性能,价格因素,设备要求节能环保,噪音低,运行可靠,维护管理简便,无二次污染,清洁及安全生产原则。

二、医疗废水水处理设备处理思路:
(1)格栅池:去除污水中较大的漂浮物及悬浮物以保证污水提升泵的正常运行,对水泵和后续处理单元起保护作用。
(2)调节池:调节水质、水量,医疗废水虽然相对平稳,但仍存在水质、水量上的波动,设立调节池可使污水处理系统连续地运行并调节污水的浓度,有效延长处理设备的寿命,提升处理效果。
(3)接触氧化池:在曝气充氧条件下,利用好氧微生物分解废水中有机物,彻底降解废水中有机污染物。
(4)沉淀池:进一步去除生化池出水中的脱落生物膜及其它悬浮物,实现泥水分离,污泥排至污泥池浓缩处理,上清液排入接触消毒池。
(5)消毒池:对二沉池出水投加消毒剂进行消毒,使粪大肠菌群数指标达到排放标准的要求,满足医院排水的卫生标准。


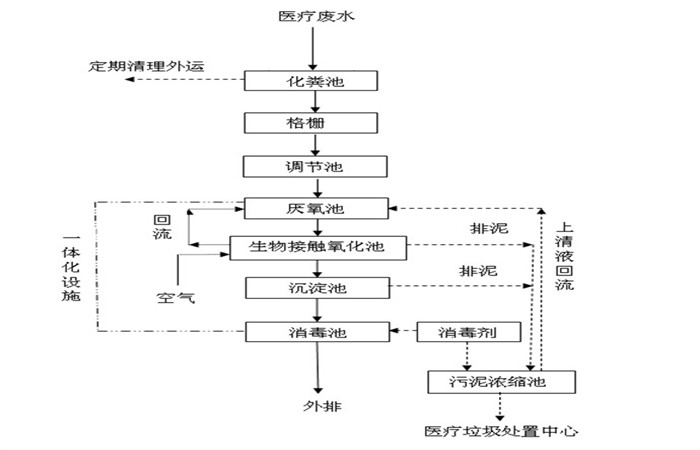
三、医疗废水水处理设备流程说明:
医疗废水首先进入格栅井,格栅的作用主要是拦截污水中的漂浮物及颗粒物,减轻后续设备的处理负荷和保护水泵正常工作。
从格栅出来的水有提升泵提升到调节池,调节池的作用是调节水质和水量,使不同时间、不同水质的水充分混合,保证进入到后续设备的水质与水量均匀一致,还可以降低一定的负荷,使整套处理设备耐受短时间较高的负荷冲击。为防止SS在调节池沉淀,在调节池中安装几根曝气软管,起搅拌作用,同时调节池具有水解、酸化池的功能,可将部分大分子有机污染物降解为小分子污染物,去除部分有机污染物。
调节池出来的水自流至一体化医院污水处理设备的水解酸化池,将不易分解的大分子有机物厌氧消化为易分解的小分子有机物,后废水进入接触氧化池,在曝气池中设置填料,将其作为生物膜的载体。待处理的废水经充氧后以一定流速流经填料,与生物膜接触,生物膜与悬浮的活性污泥共同作用,达到净化废水的作用。生物处理后的废水自流入沉淀池,沉淀后上清液自流入消毒池,经过二氧化氯消毒后达标排放。


四、医疗废水水处理设备售后保证:
①、为安装的全过程提供监督服务和技术指导,对设备安装完成状态进行确认,经供方确认安装正确后进入下一步调试阶段。
②、供方与需方共同制定调试方案,并负责调试,对调试设备做必要的技术指导和技术支持。
③、在安装、调试期间,供方技术人员详细讲解技术文件,进行必要的示范操作,解决技术难题,解答需方在合同范围内提出的技术问题,负责对买方操作、维修人员在现场进行业务培训。



返回首页
电话
产品中心